餐厅管理
管理所有餐厅信息,包含餐厅的编号、名称、分类、营业状态、人均消费、地址、排序、状态、餐厅二维码;用户能通过餐厅列表编辑餐厅信息:包含餐厅的基本信息、餐厅图集以及餐厅详情;还可以新增一个餐厅,并完善新增餐厅的基础信息。
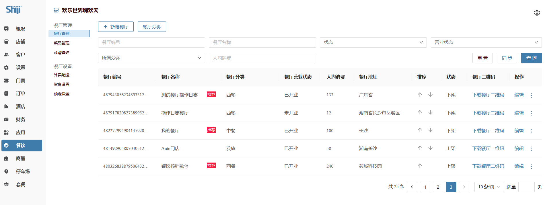
餐厅管理#
点击左侧菜单栏【餐饮-餐厅管理-餐厅管理】子功能菜单,在餐厅管理页面,可查看餐厅列表,对餐厅进行编辑、下架、取消推荐操作;也可下载餐厅二维码,通过扫码打开该餐厅堂食菜单;还可以新增餐厅及进行餐厅分类。

新增餐厅#
用于新建餐厅数据。

成功新增餐厅后,系统会给餐厅生成对应的菜品规格:默认规格库、加料库与口味库,分别对应餐厅菜品的不同规格;其中,仅规格库会和价格产生关联。

菜品管理#
点击左侧菜单栏【餐饮-餐厅管理-菜品管理】子功能菜单,能查看每个餐厅下对应的菜品数量,点击进入某个餐厅的菜品列表,可对菜品进行管理。

菜品列表#
点击菜品管理页面操作栏的【菜品列表】,可在菜品列表页面查看当前餐厅下的所有菜品,并对其进行编辑和删除,也可新增菜品并对菜品进行分类。

新增菜品#
菜品类型分为单品、固定套餐和组合套餐。
单品#
填写菜品的基本字段,如菜品名称、小图、图集、分类与标签等,确认菜品是单一规格还是多规格;
如果是单一规格,代表该菜品只有一个价格,填写菜品的实际售价、划线价、会员价(非必填)以及包装费(注:当小程序端要求该菜品需要打包时则会计算对应的包装费);
完成价格填写后,确认菜品的售卖基数与起卖数量(售卖基数对应小程序端的已卖多少份,起卖数量表示该菜品必须选几份才能卖);
其他规格:比如口味库(微辣、中辣、重辣),加料库(如加醋、加花椒)等均与价格无关,在小程序端呈现时会弹出选择规格但不会有价格上的变化;
当餐厅与菜品均从中台获取时,菜品是以价格日历的形式存在,无规格变动。

固定套餐#
固定套餐是将多个单品打包成为一个菜品,并设置单一价格然后进行售卖的一种方式,固定套餐的打包费可以按菜品总和的包装费计算,也可以重新设置一个新的针对套餐的打包费;
在添加套餐分组的时候可以给套餐进行分组并命名(例:主食、饮料、汤等),最多可添加十个分组。

组合套餐#
组合套餐是将多个单品打包在一起,下单时可进行组合选择的一种方式;组合套餐中的分组包含必点与可选两种类型,必点组合是指固定在该套餐内的用户不可去掉,可选组合是指将多个菜品组合,用户需选 1 种或者多种,但不必选择整个组合下的所有菜品。例如:必点组合下有米饭 + 辣椒炒肉,可选组合下有可乐、雪碧,用户需选 1 种,那么对应下单的时候,用户必点米饭 + 辣椒炒肉,但是可以在可乐与雪碧当中任选一种;除此之外,其他的参数与固定套餐相同。

菜品分类#
在菜品列表页面,点击【菜品分类】可对菜品类别进行管理,并创建新的菜品分类。

菜谱管理#
点击左侧菜单栏【餐饮-餐厅管理-菜谱管理】子功能菜单,可查看餐厅下含有几个菜谱,目前菜谱包含三种售卖形式:堂食、外卖、预定,对应小程序端的三种售卖业务:扫码点餐、简餐与中台代金券;暂定支持每个餐厅对应只能开启三个不同售卖业务,不能同一个售卖形式产生多个菜谱。

编辑菜谱#
点击菜谱管理页面的【编辑菜谱】,可查看菜谱列表,对菜谱进行编辑、设置菜品、停用/启用、删除及新增菜谱。

售卖分类#
菜谱除了包含售卖业务(堂食、外卖、预订)外,还包含售卖分类,对应小程序端的菜品分类;对新增售卖分类限制该分类下菜品的售卖时间与是否必买。

新增菜谱#
点击【新增菜谱】,可在新增菜谱页面设置菜谱名称和售卖业务(可选堂食、外卖、预定)。

设置菜品#
新增菜谱与售卖分类后,可将菜品关联到菜谱当中,点击菜谱列表中菜谱操作栏的【设置菜品】,进入设置菜品页面,先选择一种售卖分类,然后再将菜品关联到对应的售卖分类下从而形成菜单。

新增分类#
如没有售卖分类,可选择【新增分类】给对应菜谱新增一个售卖分类。
#
加菜#
新增分类后,可选择【加菜】可以给对应菜谱下的售卖分类加菜。
